
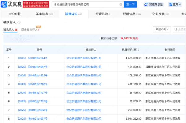
而根据线索:哪吒汽车关联公司合众新能源汽车股份有限公司名下有多起被执行人信息和限制高消费信息,被执行总金额超1.6亿元,还涉及超80条股权冻结信息。


截至2023年,公司三年累计亏损超180亿元,总负债接近百亿元,其中大部分为供应商欠款。在之前,如果哪吒有一些诸如官网打不开、拖欠员工薪水的负面新闻时,还会有官方出来进行一系列的辟谣工作,但是最近一段时间,连辟谣都没有了。

而昨天,一则哪吒原ceo张勇被曝已在英国的消息直接登顶热搜。有知情人爆料,哪吒汽车原CEO张勇离职前,就在公司办了英国签证,近期去了英国,“目前也还在那里。”去年12月,因公司战略调整,张勇不再担任CEO,转任公司顾问,哪吒汽车创始人、董事长方运舟兼任公司CEO。
截至目前,张勇已经清空了历史微博消息。不过也有网友爆料说张勇目前依然在努力融资。


而哪吒汽车累计销量在35万辆左右。如果直接倒闭的话,也会对这些车主产生最直接的影响。
哪吒汽车当前总负债接近100亿元,涵盖供应商欠款、员工补偿、法律执行债务等多方面。而且在当前新能源汽车市场格局几乎定论的情况下,想要获得融资或者接盘估计是难上加难。
原创文章,作者:爱运营,如若转载,请注明出处:https://www.iyunying.org/news/350004.html