
上海绿捷的这次事件从发生到现在,已经超过了一周,而且中途上海绿捷还有多种说法,如果不是上海家长的持续追问,这个事情最终能够演变成什么样子,估计都没人知道。
按理说,像上海绿捷这种餐饮配送公司,还是作为上海校园配餐市场的龙头企业,绿捷公司业务覆盖全市16个区的500多所中小学、幼儿园,日供餐量超过50万份。他们应该非常重视餐饮安全才对,毕竟这个供餐量的利润是非常高的。
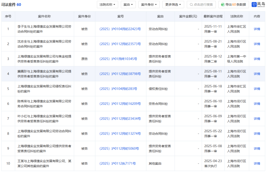
我们简单查了下这个企业,发现有一千多名员工,但是劳动纠纷的官司还是比较多的。

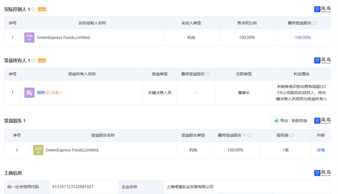
然后上海绿捷的实际控制人是一家港资企业。

懒得继续向下扒了,这些不顾学生食品安全的真没良心。
连声明写的都那么敷衍,看上去给人一种高高在上的感觉。
原创文章,作者:爱运营,如若转载,请注明出处:https://www.iyunying.org/news/355503.html